附录K 疲劳计算的构件和连接分类
附录 K 疲劳计算的构件和连接分类¶
K.0.1¶
非焊接的构件和连接分类应符合表 K.0.1 的规定。
表 K.0.1 非焊接的构件和连接分类
| 项次 | 构造细节 | 说明 | 类别 |
| 1 | ![]() | ●无连接处的母材轧制型钢 | Z1 |
| 2 | ![]() | ●无连接处的母材钢板(1)两边为轧制边或刨边(2)两侧为自动、半自动切割边(切割质量标准应符合现行国家标准《钢结构工程施工质量验收规范》GB 50205) | Z1Z2 |
| 3 | ![]() | ●连系螺栓和虚孔处的母材应力以净截面面积计算 | Z4 |
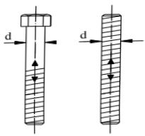
| 4 | ![]() | ●螺栓连接处的母材高强度螺栓摩擦型连接应力以毛截面面积计算;其他螺栓连接应力以净截面面积计算●铆钉连接处的母材连接应力以净截面面积计算 | Z2Z4 |
| 5 | ![]() | ●受拉螺栓的螺纹处母材连接板件应有足够的刚度,保证不产生撬力。否则受拉正应力应考虑撬力及其他因素产生的全部附加应力对于直径大于30mm螺栓,需要考虑尺寸效应对容许应力幅进行修正,修正系数γt:γt= (30/d)0.25d—螺栓直径,单位为mm | Z11 |
注:箭头表示计算应力幅的位置和方向。
K.0.2 纵向传力焊缝的构件和连接分类应符合表 K.0.2 的规定。
表 K.0.2 纵向传力焊缝的构件和连接分类
| 项次 | 构造细节 | 说明 | 类别 |
| 6 | ![]() | ·无垫板的纵向对接焊缝附近的母材焊缝符合二级焊缝标准 | Z2 |
| 7 | ![]() | ·有连续垫板的纵向自动对接焊缝附近的母材(1)无起弧、灭弧(2)有起弧、灭弧 | Z4Z5 |
| 8 | ![]() ![]() | ·翼缘连接焊缝附近的母材翼缘板与腹板的连接焊缝自动焊,二级T形对接与角接组合焊缝自动焊,角焊缝,外观质量标准符合二级手工焊,角焊缝,外观质量标准符合二级双层翼缘板之间的连接焊缝自动焊,角焊缝,外观质量标准符合二级手工焊,角焊缝,外观质量标准符合二级 | Z2Z4Z5Z4Z5 |
| 9 | ![]() | ·仅单侧施焊的手工或自动对接焊缝附近的母材,焊缝符合二级焊缝标准,翼缘与腹板很好贴合 | Z5 |
| 10 | ![]() | ·开工艺孔处焊缝符合二级焊缝标准的对接焊缝、焊缝外观质量符合二级焊缝标准的角焊缝等附近的母材, | Z8 |
| 11 | ![]() | ·节点板搭接的两侧面角焊缝端部的母材·节点板搭接的三面围焊时两侧角焊缝端部的母材·三面围焊或两侧面角焊缝的节点板母材(节点板计算宽度按应力扩散角θ等于30°考虑) | Z10Z8Z8 |
注:箭头表示计算应力幅的位置和方向。
K.0.3 横向传力焊缝的构件和连接分类应符合表 K.0.3 的规定。
表 K.0.3 横向传力焊缝的构件和连接分类
| 项次 | 构造细节 | 说明 | 类别 |
| 12 | ![]() | ·横向对接焊缝附近的母材,轧制梁对接焊缝附近的母材符合现行国家标准《钢结构工程施工质量验收规范》GB 50205的一级焊缝,且经加工、磨平符合现行国家标准《钢结构工程施工质量验收规范》GB 50205的一级焊缝 | Z2Z4 |
| 13 | ![]() ![]() | ·不同厚度(或宽度)横向对接焊缝附近的母材符合现行国家标准《钢结构工程施工质量验收规范》GB 50205的一级焊缝,且经加工、磨平符合现行国家标准《钢结构工程施工质量验收规范》GB 50205的一级焊缝 | Z2Z4 |
| 14 | ![]() | ·有工艺孔的轧制梁对接焊缝附近的母材,焊缝加工成平滑过渡并符合一级焊缝标准 | Z6 |
| 15 | ![]() | ·带垫板的横向对接焊缝附近的母材垫板端部超出母板距离d≥10mmd<10mm | Z8Z11 |
| 16 | ![]() | ·节点板搭接的端面角焊缝的母材 | Z7 |
| 17 | ![]() ![]() | ·不同厚度直接横向对接焊缝附近的母材,焊缝等级为一级,无偏心 | Z8 |
| 18 | ![]() | ·翼缘盖板中断处的母材(板端有横向端焊缝) | Z8 |
| 19 | ![]() | •十字型连接、T型连接(1) K形坡口、T形对接与角接组合焊缝处的母材,十字型连接两侧轴线偏离距离小于0.15t,焊缝为二级,焊趾角 $ \alpha\leq45\alpha $ (2)角焊缝处的母材,十字型连接两侧轴线偏离距离小于0.15t | Z6Z8 |
| 20 | ![]() | •法兰焊缝连接附近的母材(1) 采用对接焊缝,焊缝为一级(2) 采用角焊缝 | Z8Z13 |
注:箭头表示计算应力幅的位置和方向。
K.0.4 非传力焊缝的构件和连接分类应符合表 K.0.4 的规定。
表 K.0.4 非传力焊缝的构件和连接分类
| 项次 | 构造细节 | 说明 | 类别 |
| 21 | ![]() | ·横向加劲肋端部附近的母材肋端焊缝不断弧(采用回焊)肋端焊缝断弧 | Z5Z6 |
| 22 | ![]() | ·横向焊接附件附近的母材(1)t≤50mm(2)50mm<t>Z7Z8 | |
| 23 | ![]() | ·矩形节点板焊接于构件翼缘或腹板处的母材(节点板焊缝方向的长度L>150mm) | Z8 |
| 24 | ![]() | ·带圆弧的梯形节点板用对接焊缝焊于梁翼缘、腹板以及桁架构件处的母材,圆弧过渡处在焊后铲平、磨光、圆滑过渡,不得有焊接起弧、灭弧缺陷 | Z6 |
| 25 | ![]() | ·焊接剪力栓钉附近的钢板母材 | Z7 |
注:箭头表示计算应力幅的位置和方向。
K.0.5 钢管截面的构件和连接分类应符合表 K.0.5 的规定。
表 K.0.5 钢管截面的构件和连接分类
| 项次 | 构造细节 | 说明 | 类别 |
| 26 | ![]() | ●钢管纵向自动焊缝的母材(1)无焊接起弧、灭弧点(2)有焊接起弧、灭弧点 | Z3Z6 |
| 27 | ![]() | ●圆管端部对接焊缝附近的母材,焊缝平滑过渡并符合现行国家标准《钢结构工程施工质量验收规范》GB 50205的一级焊缝标准,余高不大于焊缝宽度的10%。(1)圆管壁厚8mm<t>Z6Z8 | |
| 28 | ![]() | ●矩形管端部对接焊缝附近的母材,焊缝平滑过渡并符合一级焊缝标准,余高不大于焊缝宽度的10%。(1)方管壁厚8mm<t>Z8Z10 | |
| 29 | ![]() ![]() | ●焊有矩形管或圆管的构件,连接角焊缝附近的母材,角焊缝为非承载焊缝,其外观质量标准符合二级,矩形管宽度或圆管直径不大于100mm | Z8 |
| 30 | ![]() | ●通过端板采用对接焊缝拼接的圆管母材,焊缝符合一级质量标准(1)圆管壁厚8mm<t>Z10Z11 | |
| 31 | ![]() | ●通过端板采用对接焊缝拼接的矩形管母材,焊缝符合一级质量标准(1)方管壁厚8mm<t>Z11Z12 | |
| 32 | ![]() | ●通过端板采用角焊缝拼接的圆管母材,焊缝外观质量标准符合二级,管壁厚度t≤8mm | Z13 |
| 33 | ![]() | ●通过端板采用角焊缝拼接的矩形管母材,焊缝外观质量标准符合二级,管壁厚度t≤8mm | Z14 |
| 34 | ![]() | ·钢管端部压扁与钢板对接焊缝连接(仅适用于直径小于200mm的钢管),计算时采用钢管的应力幅 | Z8 |
| 35 | ![]() | ·钢管端部开设槽口与钢板角焊缝连接,槽口端部为圆弧,计算时采用钢管的应力幅(1)倾斜角α≤45°(2)倾斜角α>45° | Z8Z9 |
注:箭头表示计算应力幅的位置和方向。
K.0.6 剪应力作用下的构件和连接分类应符合表 K.0.6 的规定。
表 K.0.6 剪应力作用下的构件和连接分类
| 项次 | 构造细节 | 说明 | 类别 |
| 36 | ![]() | •各类受剪角焊缝剪应力按有效截面计算 | J1 |
| 37 | ![]() | •受剪力的普通螺栓采用螺杆截面的剪应力 | J2 |
| 38 | ![]() | •焊接剪力栓钉采用栓钉名义截面的剪应力 | J3 |
注:箭头表示计算应力幅的位置和方向。









































