17 钢结构抗震性能化设计
17 钢结构抗震性能化设计¶
17.1 一般规定¶
17.1.1¶
本章适用于抗震设防烈度不高于8度(0.20g),结构高度不高于100m的框架结构、支撑结构和框架-支撑结构的构件和节点的抗震性能化设计。地震动参数和性能化设计原则应符合现行国家标准《建筑抗震设计规范》GB 50011的规定。
17.1.2¶
钢结构建筑的抗震设防类别应按现行国家标准《建筑工程抗震设防分类标准》GB 50223的规定采用。
17.1.3¶
钢结构构件的抗震性能化设计应根据建筑的抗震设防类别、设防烈度、场地条件、结构类型和不规则性,结构构件在整个结构中的作用,使用功能和附属设施功能的要求、投资大小、震后损失和修复难易程度等,经综合分析比较选定其抗震性能目标。构件塑性耗能区的抗震承载性能等级及其在不同地震动水准下的性能目标可按表17.1.3划分。
| 承载性能等级 | 地震动水准 | ||
| 多遇地震 | 设防地震 | 罕遇地震 | |
| 性能1 | 完好 | 完好 | 基本完好 |
| 性能2 | 完好 | 基本完好 | 基本完好~轻微变形 |
| 性能3 | 完好 | 实际承载力满足高性能系数的要求 | 轻微变形 |
| 性能4 | 完好 | 实际承载力满足较高性能系数的要求 | 轻微变形~中等变形 |
| 性能5 | 完好 | 实际承载力满足中性能系数的要求 | 中等变形 |
| 性能6 | 基本完好 | 实际承载力满足低性能系数的要求 | 中等变形~显著变形 |
| 性能7 | 基本完好 | 实际承载力满足最低性能系数的要求 | 显著变形 |
注:性能1至性能7性能目标依次降低,性能系数的高、低取值见本标准第17.2节。
17.1.4¶
钢结构构件的抗震性能化设计可采用下列基本步骤和方法:
1 按现行国家标准《建筑抗震设计规范》GB 50011 或《构筑物抗震设计规范》GB 50191 的规定进行多遇地震作用验算,结构承载力及侧移应满足其规定,位于塑性耗能区的构件进行承载力计算时,可考虑该构件刚度折减形成等效弹性模型。
2 抗震设防类别为标准设防类(丙类)的建筑,可按表 17.1.4-1 初步选择塑性耗能区的承载性能等级。
| 设防烈度 | 单层 | $ H \leq 50m $ | $ 50m < H \leq 100m $ |
| 6度(0.05g) | 性能3~7 | 性能4~7 | 性能5~7 |
| 7度(0.10g) | 性能3~7 | 性能5~7 | 性能6~7 |
| 7度(0.15g) | 性能4~7 | 性能5~7 | 性能6~7 |
| 8度(0.20g) | 性能4~7 | 性能6~7 | 性能7 |
注:H 为钢结构房屋的高度,即室外地面到主要屋面板板顶的高度(不包括局部突出屋面的部分)。
3 按本标准第 17.2 节的有关规定进行设防地震下的承载力抗震验算:
1) 建立合适的结构计算模型进行结构分析;
2)设定塑性耗能区的性能系数,选择塑性耗能区截面,使其实际承载性能等级与设定的性能系数尽量接近;
3)其他构件承载力标准值应进行计入性能系数的内力组合效应验算,当结构构件延性等级为V级时,无须进行机构控制验算;
4)必要时可调整截面或重新设定塑性耗能区的性能系数。
4 根据设防类别及塑性耗能区最低承载性能等级,应根据表 17.1.4-2 确定构件和节点的延性等级,按本标准第 17.3 节的规定对不同延性等级的相应要求采取抗震措施。
| 设防类别 | 塑性耗能区最低承载性能等级 | ||||||
| 性能1 | 性能2 | 性能3 | 性能4 | 性能5 | 性能6 | 性能7 | |
| 适度设防类(丁类) | — | — | — | V级 | IV级 | III级 | II级 |
| 标准设防类(丙类) | — | — | V级 | IV级 | III级 | II级 | I级 |
| 重点设防类(乙类) | — | V级 | IV级 | III级 | II级 | I级 | — |
| 特殊设防类(甲类) | V级 | IV级 | III级 | II级 | I级 | — | — |
注:Ⅰ级至Ⅴ级,结构构件延性等级依次降低。
5 当塑性耗能区的最低承载性能等级为性能 5、性能 6 或性能 7 时,通过罕遇地震下结构的弹塑性分析或按构件工作状态形成新的结构等效弹性分析模型,进行竖向构件的弹塑性层间位移角验算,应满足现行国家标准《建筑抗震设计规范》GB 50011、《构筑物抗震设计规范》GB 50191 的弹塑性层间位移角限值;当所有构造要求均满足结构构件延性等级Ⅰ级的要求时,弹塑性层间位移角限值可增加 25%。
17.1.5¶
钢结构构件的性能系数应符合下列规定:
1 整个结构中不同部位的构件、同一部位的水平构件和竖向构件,可有不同的性能系数;节点域及其连接件,承载力应符合强节点弱杆件的要求。
2 对框架结构,同层框架柱的性能系数宜高于框架梁。
3 对支撑结构和框架-中心支撑结构的支撑系统,同层框架柱的性能系数宜高于框架梁,框架梁的性能系数宜高于支撑。
4 框架-偏心支撑结构的支撑系统,同层框架柱的性能系数宜高于支撑,支撑的性能系数宜高于框架梁,框架梁的性能系数应高于消能梁段。
5 关键构件的性能系数不应低于一般构件。
17.1.6¶
采用抗震性能化设计的钢结构构件,其材料应符合下列规定:
1 钢材的质量等级应符合下列规定:
1)当工作温度高于 $ 0^{\circ} $ C 时,其质量等级不应低于 B 级;
2)当工作温度不高于 $ 0^{\circ} $ C 但高于 $ -20^{\circ} $ C 时,Q235、Q345 钢不应低于 B 级,Q390、Q420 及 Q460 钢不应低于 C 级;
3)当工作温度不高于 $ -20^{\circ}C $ 时,Q235、Q345钢不应低于C级,Q390、Q420及Q460钢不应低于D级。
2 构件塑性耗能区采用的钢材尚应符合下列规定:
1)钢材的屈服强度实测值与抗拉强度实测值的比值不应大于0.85;
2)钢材应有明显的屈服台阶,且伸长率不应小于20%;
3)钢材应满足屈服强度实测值不高于上一级钢材屈服强度规定值的条件;
4)钢材工作温度时夏比冲击韧性不宜低于27J。
3 钢结构构件关键性焊缝的填充金属应检验 V 形切口的冲击韧性,其工作温度时夏比冲击韧性不应低于 27J。
17.1.7¶
钢结构布置应符合现行国家标准《建筑抗震设计规范》GB 50011 的规定。
17.2 计算要点¶
17.2.1¶
结构的分析模型及其参数应符合下列规定:
1 模型应正确反映构件及其连接在不同地震动水准下的工作状态;
2 整个结构的弹性分析可采用线性方法,弹塑性分析可根据预期构件的工作状态,分别采用增加阻尼的等效线性化方法及静力或动力非线性设计方法;
3 在罕遇地震下应计入重力二阶效应;
4 弹性分析的阻尼比可按现行国家标准《建筑抗震设计规范》GB 50011 的规定采用,弹塑性分析的阻尼比可适当增加,采用等效线性化方法时不宜大于 5%。
5 构成支撑系统的梁柱,计算重力荷载代表值产生的效应时,不宜考虑支撑作用。
17.2.2¶
钢结构构件的性能系数应符合下列规定:
1 钢结构构件的性能系数应按下式计算:
$$ \Omega_{i}\geq\beta_{\mathrm{e}}\Omega_{i,\mathrm{m i n}}^{\mathrm{a}} \tag{17.2.2-1} $$
2 塑性耗能区的性能系数应符合下列规定:
1)对框架结构、中心支撑结构、框架-支撑结构,规则结构塑性耗能区不同承载性能等级对应的性能系数最小值宜符合表17.2.2-1的规定:
| 承载性能等级 | 性能1 | 性能2 | 性能3 | 性能4 | 性能5 | 性能6 | 性能7 |
| 性能系数最小值 | 1.10 | 0.9 | 0.70 | 0.55 | 0.45 | 0.35 | 0.28 |
2)不规则结构塑性耗能区的构件性能系数最小值,宜比规则结构增加15%~50%。
3)塑性耗能区实际性能系数可按下列公式计算:
框架结构:
$$ \Omega_{0}^{\mathrm{a}}=\left(W_{\mathrm{E}}f_{\mathrm{y}}-M_{\mathrm{GE}}-0.4M_{\mathrm{Evk2}}\right)\Big/M_{\mathrm{Ehk2}} \tag{17.2.2-2} $$
支撑结构:
$$ \Omega_{0}^{\mathrm{a}}=\frac{\left(N_{\mathrm{br}}^{\prime}-N_{\mathrm{GE}}^{\prime}-0.4N_{\mathrm{Evk2}}^{\prime}\right)}{\eta_{\mathrm{br}}N_{\mathrm{Ehk2}}^{\prime}} \tag{17.2.2-3} $$
框架-偏心支撑结构:
设防地震性能组合的消能梁段轴力 $ N_{p,l} $ ,可按下式计算:
$$ N_{\mathrm{p},l}=N_{\mathrm{G E}}+0.28N_{\mathrm{E h k2}}+0.4N_{\mathrm{E v k2}} \tag{17.2.2-4} $$
当 $ N_{p,l}\leq0.15Af_{y} $ 时,实际性能系数应取式(17.2.2-5)和式(17.2.2-6)的较小值:
$$ \Omega_{0}^{a}=\left(W_{\mathrm{p},l}f_{\mathrm{y}}-M_{\mathrm{GE}}-0.4M_{\mathrm{Evk2}}\right)\Big/M_{\mathrm{Ehk2}} \tag{17.2.2-5} $$
$$ \Omega_{0}^{\mathrm{a}}=\left(V_{l}-V_{\mathrm{GE}}-0.4V_{\mathrm{Evk2}}\right)/V_{\mathrm{Ehk2}} \tag{17.2.2-6} $$
当 $ N_{p,l}>0.15Af_{y} $ 时,实际性能系数应取式(17.2.2-7)和式(17.2.2-8)的较小值:
$$ \Omega_{0}^{\mathrm{a}}=\left(1.2W_{\mathrm{p},l}f_{\mathrm{y}}\left[1-N_{\mathrm{p},l}\Big/\left(A f_{\mathrm{y}}\right)\right]-M_{\mathrm{GE}}-0.4M_{\mathrm{Evk2}}\right)\Big/M_{\mathrm{Ehk2}} \tag{17.2.2-7} $$
$$ \Omega_{0}^{\mathrm{a}}=\left(V_{l\mathrm{c}}-V_{\mathrm{GE}}-0.4V_{\mathrm{Evk2}}\right)/V_{\mathrm{Ehk2}} \tag{17.2.2-8} $$
框架-支撑结构:
$$ \Omega_{0}^{\mathrm{a}}=\min\left[\frac{W_{\mathrm{E}}f_{\mathrm{y}}-M_{\mathrm{GE}}-0.4M_{\mathrm{Evk2}}}{M_{\mathrm{Evk2}}},\frac{\left(N_{\mathrm{br}}^{\prime}-N_{\mathrm{GE}}^{\prime}-0.4N_{\mathrm{Evk2}}^{\prime}\right)}{N_{\mathrm{Ehk2}}^{\prime}}\right] \tag{17.2.2-9} $$
支撑系统的水平地震作用非塑性耗能区内力调整系数应按下式计算:
$$ \beta_{\mathrm{br,ei}}=1+0.7\beta_{i} \tag{17.2.2-10} $$
4) 支撑结构及框架-中心支撑结构的同层支撑性能系数最大值与最小值之差不宜超过最小值的 20%。
式中: $ \Omega_{i} $ ——i层构件性能系数;
$ \beta_{e} $ ——水平地震作用非塑性耗能区内力调整系数,除框架-支撑结构支撑系统的非塑性耗能区应按式(17.2.2-10)计算外,塑性耗能区构件应取1.0,其余构件不宜小于 $ 1.1\eta_{y} $ , $ \eta_{y} $ 可按表17.2.2-3取值;
$ \eta_{br} $ ——调整系数,屈曲约束支撑应取为1.0,其他支撑应取为1.5;
$ \Omega_{i,\min}^{a} $ ——i层构件塑性耗能区实际性能系数最小值;
$ \Omega_{0}^{a} $ ——构件塑性耗能区实际性能系数;
$ W_{E} $ ——构件塑性耗能区截面模量(mm $ ^{3} $ ),按表 17.2.2-2 取值;
$ f_{y} $ ——钢材屈服强度(N/mm $ ^{2} $ );
$ M_{GE} $ 、 $ N_{GE} $ 、 $ V_{GE} $ ——分别为重力荷载代表值产生的弯矩效应(N·mm)、轴力效应(N)和剪力效应(N),可按现行国家标准《建筑抗震设计规范》GB 50011的规定采用;
$ M_{Ehk2} $ 、 $ M_{Evk2} $ ——分别为按弹性或等效弹性计算的构件水平设防地震作用标准值的弯矩效应、8度且高度大于50m时按弹性或等效弹性计算的构件竖向设防地震作用标准值的弯矩效应(N·mm);
$ V_{Ehk2} $ 、 $ V_{Evk2} $ ——分别为按弹性或等效弹性计算的构件水平设防地震作用标准值的剪力效应、8度且高度大于50m时按弹性或等效弹性计算的构件竖向设防地震作用标准值的剪力效应(N);
$ N_{br}^{\prime} $ 、 $ N_{GE}^{\prime} $ ——支撑对承载力标准值、重力荷载代表值产生的轴力效应(N)。计算承载力标准值时,压杆的承载力应乘以按式(17.2.4-3)计算的受压支撑剩余承载力系数 $ \eta $ ;
$ N_{Ehk2}^{\prime} $ 、 $ N_{Evk2}^{\prime} $ ——分别为按弹性或等效弹性计算的支撑对水平设防地震作用标准值的轴力效应、8度且高度大于50m时按弹性或等效弹性计算的支撑对竖向设防地震作用标准值的轴力效应(N);
$ N_{Ehk2} $ 、 $ N_{Evk2} $ ——分别为按弹性或等效弹性计算的支撑水平设防地震作用标准值的轴力效应、8度且高度大于50m时按弹性或等效弹性计算的支撑竖向设防地震作用标准值的轴力效应(N);
$ W_{p,l} $ ——消能梁段塑性截面模量 $ (\mathrm{mm}^{3}) $ ;
$ V_{l} $ 、 $ V_{k} $ ——分别为消能梁段受剪承载力和计入轴力影响的受剪承载力(N);
$ \beta_{i} $ ——i层支撑水平地震剪力分担率,屈曲约束支撑取为0,当大于0.714时,取为0.714。
| 截面板件宽厚比等级 | S1 | S2 | S3 | S4 | S5 |
| 构件截面模量 | $ W_{E}=W_{p} $ | $ W_{E}=\gamma_{x}W $ | $ W_{E}=W $ | $ W_{E}=\alpha_{e}W $ | |
注: $ W_{p} $ 为塑性截面模量; $ \gamma_{x} $ 为截面塑性发展系数,按本标准表8.1.1采用,W 为弹性截面模量; $ \alpha_{e} $ 为
梁截面模量考虑腹板有效高度的折减系数,按本标准式(6.4.1-4)计算。
| 塑性耗能区弹性区 | Q235 | Q345、Q345GJ |
| Q235 | 1.15 | 1.05 |
| Q345、Q345GJ、Q390、Q420、Q460 | 1.2 | 1.1 |
注:当塑性耗能区的钢材为管材时, $ \eta_{y} $ 可取表中数值乘以1.1。
3 当钢结构构件延性等级为V级时,非塑性耗能区内力调整系数可采用1.0。
17.2.3¶
钢结构构件的承载力应按下列公式验算:
$$ S_{\mathrm{E}2}=S_{\mathrm{GE}}+\Omega_{i}S_{\mathrm{Ehk}2}+0.4S_{\mathrm{Evk}2} \tag{17.2.3-1} $$
$$ S_{\mathrm{E}2}\leq R_{\mathrm{k}} \tag{17.2.3-2} $$
式中: $ S_{E2} $ ——构件设防地震内力性能组合值;
$ S_{GE} $ ——构件重力荷载代表值产生的效应,按现行国家标准《建筑抗震设计规范》GB 50011 或《构筑物抗震设计规范》GB 50191 的规定采用;
$ S_{Ehk2} $ 、 $ S_{Evk2} $ ——分别为按弹性或等效弹性计算的构件水平设防地震作用标准值效应、8度且高度大于50m时按弹性或等效弹性计算的构件竖向设防地震作用标准值效应; $ R_{k} $ ——按屈服强度计算的构件实际截面承载力标准值。
17.2.4¶
框架梁的抗震承载力验算应符合下列规定:
1 框架结构中框架梁进行受剪计算时,剪力应按下式计算:
$$ V_{\mathrm{pb}}=V_{\mathrm{Gb}}+\frac{W_{\mathrm{Eb,A}}f_{\mathrm{y}}+W_{\mathrm{Eb,B}}f_{\mathrm{y}}}{l_{\mathrm{n}}} \tag{17.2.4-1} $$
2 框架-偏心支撑结构中非消能梁段的框架梁,应按压弯构件计算;计算弯矩及轴力效应时,其非塑性耗能区内力调整系数宜按 $ 1.1 \eta_{y} $ 采用。
3 交叉支撑系统中的框架梁,应按压弯构件计算;轴力可按式(17.2.4-2)计算,计算弯矩效应时,其非塑性耗能区内力调整系数宜按 $ 1.1 \eta_{y} $ 采用。
$$ N=A_{\mathrm{br1}}f_{\mathrm{y}}\cos\alpha_{1}-\eta\varphi A_{\mathrm{br2}}f_{\mathrm{y}}\cos\alpha_{2} \tag{17.2.4-2} $$
$$ \eta=0.65+0.35\tanh(4-10.5\lambda_{n,br}) \tag{17.2.4-3} $$
$$ \lambda_{n,br}=\frac{\lambda_{br}}{\pi}\sqrt{\frac{f_{y}}{E}} \tag{17.2.4-4} $$
4 人字形、V形支撑系统中的框架梁在支撑连接处应保持连续,并按压弯构件计算;轴力可按式(17.2.4-2)计算;弯矩效应宜按不计入支撑支点作用的梁承受重力荷载和支撑屈曲时不平衡力作用计算,竖向不平衡力计算宜符合下列规定:
1)除顶层和出屋面房间的框架梁外,竖向不平衡力可按下列公式计算:
$$ V=\eta_{\mathrm{r e d}}\left(1-\eta\varphi\right)A_{\mathrm{b r}}f_{\mathrm{y}}\sin\alpha \tag{17.2.4-5} $$
$$ \eta_{red}=1.25-0.75\frac{V_{P,F}}{V_{br,k}} \tag{17.2.4-6} $$
2)顶层和出屋面房间的框架梁,竖向不平衡力宜按式(17.2.4-5)计算的50%取值。
3) 当为屈曲约束支撑,计算轴力效应时,非塑性耗能区内力调整系数宜取1.0;弯矩效应宜按不计入支撑支点作用的梁承受重力荷载和支撑拉压力标准组合下的不平衡力作用计算,在恒载和支撑最大拉压力标准组合下的变形不宜超过不考虑支撑支点的梁跨度的1/240。
式中: $ V_{Gb} $ ——梁在重力荷载代表值作用下截面的剪力值(N);
$ W_{Eb,A} $ 、 $ W_{Eb,B} $ ——梁端截面A和B处的构件截面模量,可按本标准表17.2.2-2的规定采用 $ (mm^{3}) $ ;
$ l_{n} $ ——梁的净跨(mm);
$ A_{br1} $ 、 $ A_{br2} $ ——分别为上、下层支撑截面面积(mm $ ^{2} $ );
$ \alpha_{1} $ 、 $ \alpha_{2} $ ——分别为上、下层支撑斜杆与横梁的交角;
$ \lambda_{br} $ ——支撑最小长细比;
$ \eta $ ——受压支撑剩余承载力系数,应按式(17.2.4-3)计算;
$ \lambda_{n,br} $ ——支撑正则化长细比;
E——钢材弹性模(N/mm $ ^{2} $ )量;
$ \alpha $ ——支撑斜杆与横梁的交角;
$ \eta_{red} $ ——竖向不平衡力折减系数;当按式(17.2.4-6)计算的结果小于0.3时,应取
为 0.3;大于 1.0 时,应取 1.0;
$ A_{br} $ ——支撑杆截面面积(mm $ ^{2} $ );
$ \varphi $ ——支撑的稳定系数;
$ V_{P,F} $ ——框架独立形成侧移机构时的抗侧承载力标准值(N);
$ V_{br,k} $ ——支撑发生屈曲时,由人字形支撑提供的抗侧承载力标准值(N)。
17.2.5¶
框架柱的抗震承载力验算应符合下列规定:
1 柱端截面的强度应符合下列规定:
1) 等截面梁:
柱截面板件宽厚比等级为 S1、S2 时:
$$ \Sigma W_{\mathrm{E c}}\left(f_{\mathrm{y c}}-N_{\mathrm{p}}/A_{\mathrm{c}}\right)\geq\eta_{\mathrm{y}}\Sigma W_{\mathrm{E b}}f_{\mathrm{y b}} \tag{17.2.5-1} $$
柱截面板件宽厚比等级为 S3、S4 时:
$$ \Sigma W_{\mathrm{Ec}}\left(f_{\mathrm{yc}}-N_{\mathrm{p}}/A_{\mathrm{c}}\right)\geq1.1\eta_{\mathrm{y}}\Sigma W_{\mathrm{Eb}}f_{\mathrm{yb}} \tag{17.2.5-2} $$
2)端部翼缘变截面的梁:
柱截面板件宽厚比等级为 S1、S2 时:
$$ \Sigma W_{\mathrm{E c}}\left(f_{\mathrm{y c}}-N_{\mathrm{p}}/A_{\mathrm{c}}\right)\geq\eta_{\mathrm{y}}\left(\Sigma W_{\mathrm{E b1}}f_{\mathrm{y b}}+V_{\mathrm{p b}}s\right) \tag{17.2.5-3} $$
柱截面板件宽厚比等级为 S3、S4 时:
$$ \Sigma W_{\mathrm{E c}}\left(f_{\mathrm{y c}}-N_{\mathrm{p}}/A_{\mathrm{c}}\right)\geq1.1\eta_{\mathrm{y}}\left(\sum W_{\mathrm{E b1}}f_{\mathrm{y b}}+V_{\mathrm{p b}}s\right) \tag{17.2.5-4} $$
2 符合下列情况之一的框架柱可不按第1款的要求验算:
1) 单层框架和框架顶层柱;
2)规则框架,本层的受剪承载力比相邻上一层的受剪承载力高出25%;
3) 不满足强柱弱梁要求的柱子提供的受剪承载力之和,不超过总受剪承载力的20%;
4) 与支撑斜杆相连的框架柱;
5) 框架柱轴压比 $ \left(N_{p}/N_{y}\right) $ 不超过0.4且柱的截面板件宽厚比等级满足S3级要求;
6) 柱满足构件延性等级为V级时的承载力要求。
3 框架柱应按压弯构件计算,计算弯矩效应和轴力效应时,其非塑性耗能区内力调整系数不宜小于 $ 1.1 \eta_{y} $ 。对于框架结构,进行受剪计算时,剪力应按式(17.2.5-5)计算;计算弯矩效应时,多高层钢结构底层柱的非塑性耗能区内力调整系数不应小于 1.35。对于框架-中心支撑结构,框架柱计算长度系数不宜小于 1。
$$ V_{\mathrm{pc}}=V_{\mathrm{Gc}}+\frac{W_{\mathrm{Ec,A}}f_{\mathrm{y}}+W_{\mathrm{Ec,B}}f_{\mathrm{y}}}{h_{\mathrm{n}}} \tag{17.2.5-5} $$
式中: $ W_{Ec} $ 、 $ W_{Eb} $ ——分别为交汇于节点的柱和梁的截面模量(mm $ ^{3} $ ),应按本标准表 17.2.2-2 的规定采用;
$ W_{Eb1} $ ——梁塑性铰截面的截面模量(mm $ ^{3} $ ),应按本标准表 17.2.2-2 的规定采用;
$ f_{yc} $ 、 $ f_{yb} $ ——分别是柱和梁的钢材屈服强度(N/mm $ ^{2} $ );
$ N_{p} $ ——设防地震内力性能组合的柱轴力(N),应按本标准式(17.2.3-1)计算,
非塑性耗能区内力调整系数可取 1.0;
$ A_{c} $ ——框架柱的截面面积(mm $ ^{2} $ );
$ \eta_{y} $ ——钢材超强系数,可按本标准表 17.2.2-3 采用,其中塑性耗能区、弹性区分别采用梁、柱替代;
$ V_{pb} $ 、 $ V_{pc} $ ——产生塑性铰时塑性铰截面的剪力(N),应分别按本标准式(17.2.4-1)、式(17.2.5-5)计算;
S ——塑性铰截面至柱侧面的距离(mm);
$ V_{Gc} $ ——在重力荷载代表值作用下柱的剪力效应(N);
$ W_{Ec,A} $ 、 $ W_{Ec,B} $ ——柱端截面 A 和 B 处的构件截面模量,应按本标准表(17.2.2-2)的规定采用 $ (mm^{2}) $ ;
$ h_{n} $ ——柱的净高(mm)。
17.2.6¶
受拉构件或构件受拉区域的截面应符合下式要求:
$$ A f_{\mathrm{y}}\leq A_{\mathrm{n}}f_{\mathrm{u}} \tag{17.2.6-1} $$
式中:A——受拉构件或构件受拉区域的毛截面面积 $ \left(\mathrm{mm}^{2}\right) $ ;
$ A_{n} $ ——受拉构件或构件受拉区域的净截面面积(mm²),当构件多个截面有孔时,应取最不利截面;
$ f_{y} $ ——受拉构件或构件受拉区域钢材屈服强度(N/mm $ ^{2} $ );
$ f_{u} $ ——受拉构件或构件受拉区域钢材抗拉强度最小值(N/mm $ ^{2} $ )。
17.2.7¶
偏心支撑结构中支撑的非塑性耗能区内力调整系数应取 $ 1.1\eta_{y} $ 。
17.2.8¶
消能梁段的受剪承载力计算应符合下列规定:
当 $ N_{p,l}\leq0.15Af_{y} $ 时,受剪承载力应取式(17.2.8-1)和式(17.2.8-2)的较小值。
$$ V_{l}=A_{\mathrm{w}}f_{\mathrm{yv}} \tag{17.2.8-1} $$
$$ V_{l}=2W_{\mathrm{p},l}f_{\mathrm{y}}/a \tag{17.2.8-2} $$
当 $ N_{p,l}>0.15Af_{y} $ 时,受剪承载力应取式(17.2.8-3)和式(17.2.8-4)的较小值。
$$ V_{lc}=2.4W_{p,l}f_{y}\left[1-N_{p,l}\Big/\Big(Af_{y}\Big)\right]/a \tag{17.2.8-3} $$
$$ V_{lc}=A_{w}f_{yv}\sqrt{1-\left[N_{p,l}\Big/\Big(Af_{y}\Big)\right]^{2}} \tag{17.2.8-4} $$
式中: $ A_{w} $ ——消能梁段腹板截面面积(mm $ ^{2} $ );
$ f_{yv} $ ——钢材的屈服抗剪强度,可取钢材屈服强度的0.58倍(N/mm $ ^{2} $ );
a——消能梁段的净长(mm)。
17.2.9¶
钢结构抗侧力构件的连接计算应符合下列规定:
1 与塑性耗能区连接的极限承载力应大于与其连接构件的屈服承载力。
2 梁与柱刚性连接的极限承载力应按下列公式验算:
$$ M_{\mathrm{u}}^{\mathrm{j}}\geq\eta_{\mathrm{j}}W_{\mathrm{E}}f_{\mathrm{y}} \tag{17.2.9-1} $$
$$ V_{\mathrm{u}}^{\mathrm{j}}\geq1.2\Big[2\big(W_{\mathrm{E}}f_{\mathrm{y}}\big)\big/l_{\mathrm{n}}\Big]+V_{\mathrm{Gb}} \tag{17.2.9-2} $$
3 与塑性耗能区的连接及支撑拼接的极限承载力应按下列公式验算:
支撑连接和拼接
$$ N_{\mathrm{u b r}}^{\mathrm{j}}\geq\eta_{\mathrm{j}}A_{\mathrm{b r}}f_{\mathrm{y}} \tag{17.2.9-3} $$
梁的连接
$$ M_{\mathrm{ub,sp}}^{\mathrm{j}}\geq\eta_{\mathrm{j}}W_{\mathrm{E}}f_{\mathrm{y}} \tag{17.2.9-4} $$
4 柱脚与基础的连接极限承载力应按下式验算:
$$ M_{\mathrm{u,b a s e}}^{\mathrm{j}}\geq\eta_{\mathrm{j}}W_{\mathrm{E c}}f_{\mathrm{y}} \tag{17.2.9-5} $$
式中: $ V_{Gb} $ ——梁在重力荷载代表值作用下,按简支梁分析的梁端截面剪力效应;
$ A_{br} $ ——支撑杆件的截面面积;
$ M_{u}^{j} $ 、 $ V_{u}^{j} $ ——分别为连接的极限受弯、受剪承载力;
$ N_{ub}^{j} $ 、 $ M_{ub,sp}^{j} $ ——分别为支撑连接和拼接的极限受拉(压)承载力、梁拼接的极限受弯承载力;
$ M_{u,base}^{j} $ ——柱脚的极限受弯承载力;
$ \eta_{j} $ ——连接系数,可按表 17.2.9 采用,当梁腹板采用改进型过焊孔时,梁柱刚性连接的连接系数可乘以不小于 0.9 的折减系数。
| 母材牌号 | 梁柱连接 | 支撑连接、构件拼接 | 柱脚 | |||
| 焊接 | 螺栓连接 | 焊接 | 螺栓连接 | |||
| Q235 | 1.40 | 1.45 | 1.25 | 1.30 | 埋入式 | 1.2 |
| Q345 | 1.30 | 1.35 | 1.20 | 1.25 | 外包式 | 1.2 |
| Q345GJ | 1.25 | 1.30 | 1.15 | 1.20 | 外露式 | 1.2 |
注:1 屈服强度高于 Q345 的钢材,按 Q345 的规定采用;
2 屈服强度高于 Q345GJ 的 GJ 钢材,按 Q345GJ 的规定采用;
3 翼缘焊接腹板栓接时,连接系数分别按表中连接形式取用。
17.2.10¶
当框架结构的梁柱采用刚性连接时,H形和箱形截面柱的节点域抗震承载力应符合下列规定:
1 当与梁翼缘平齐的柱横向加劲肋的厚度不小于梁翼缘厚度时,H形和箱形截面柱的节点域抗震承载力验算应符合下列规定:
1)当结构构件延性等级为Ⅰ级或Ⅱ级时,节点域的承载力验算应符合下式要求:
$$ \alpha_{\mathrm{p}}\frac{M_{\mathrm{Pb1}}+M_{\mathrm{Pb2}}}{V_{\mathrm{p}}}\leq\frac{4}{3}f_{\mathrm{yv}} \tag{17.2.10-1} $$
2)当结构构件延性等级为Ⅲ级、Ⅳ级或Ⅴ级时,节点域的承载力应符合下列要求:
$$ \frac{M_{\mathrm{b1}}+M_{\mathrm{b2}}}{V_{\mathrm{p}}}\leq f_{\mathrm{ps}} \tag{17.2.10-2} $$
式中: $ M_{b1} $ 、 $ M_{b2} $ ——分别为节点域两侧梁端的设防地震性能组合的弯矩,应按本标准式
(17.2.3-1) 计算,非塑性耗能区内力调整系数可取 1.0;
$ M_{pb1} $ 、 $ M_{pb2} $ ——分别为与框架柱节点域连接的左、右梁端截面的全塑性受弯承载力;
$ V_{p} $ ——节点域的体积,应按本标准第12.3.3条规定计算;
$ f_{ps} $ ——节点域的抗剪强度,应按本标准第12.3.3条的规定计算;
$ \alpha_{p} $ ——节点域弯矩系数,边柱取0.95,中柱取0.85。
2 当节点域的计算不满足第 1 款规定时,应根据本标准第 12.3.3 条的规定采取加厚柱腹板或贴焊补强板的构造措施。补强板的厚度及其焊接应按传递补强板所分担剪力的要求设计。
17.2.11¶
支撑系统的节点计算应符合下列规定:
1 交叉支撑结构、成对布置的单斜支撑结构的支撑系统,上、下层支撑斜杆交汇处节点应可靠承受按下列公式确定的竖向不平衡剪力:
$$ V=\eta\varphi A_{\mathrm{br1}}f_{\mathrm{y}}\sin\alpha_{1}+A_{\mathrm{br2}}f_{\mathrm{y}}\sin\alpha_{2}+V_{\mathrm{G}} \tag{17.2.11-1} $$
$$ V=A_{\mathrm{b r1}}f_{\mathrm{y}}\sin\alpha_{1}+\eta\varphi A_{\mathrm{b r2}}f_{\mathrm{y}}\sin\alpha_{2}-V_{\mathrm{G}} \tag{17.2.11-2} $$
2 人字形或 V 形支撑,支撑斜杆、横梁与立柱的汇交点,应可靠传递按下式计算的剪力:
$$ V=A_{\mathrm{br}}f_{\mathrm{y}}\sin\alpha+V_{\mathrm{G}} \tag{17.2.11-3} $$
式中:V ——支撑斜杆交汇处的竖向不平衡剪力;
$ \varphi $ ——支撑稳定系数;
$ V_{G} $ ——在重力荷载代表值作用下的横梁梁端剪力(对于人字形或 V 形支撑,不应计入支撑的作用);
$ \eta $ ——受压支撑剩余承载力系数,可按本标准式(17.2.4-3)计算。
3 当同层同一竖向平面内有两个支撑斜杆汇交于一个柱子时,该节点的极限承载力不宜小于左右支撑屈服和屈曲产生的不平衡力的 $ \eta_{j} $ 倍, $ \eta_{j} $ 为连接系数,应按表 17.2.9 采用。
17.2.12¶
柱脚的承载力验算应符合下列规定:
1 支撑系统的立柱柱脚的极限承载力,不宜小于与其相连斜撑的 1.2 倍屈服拉力产生的剪力和组合拉力;
2 柱脚进行受剪承载力验算时,其性能系数不宜小于1.0。
3 对于框架结构或框架承担总水平地震剪力50%以上的双重抗侧力结构中框架部分的框架柱柱脚,采用外露式柱脚时,锚栓宜符合下列规定:
1) 实腹柱刚接柱脚,按锚栓毛截面屈服计算的受弯承载力不宜小于钢柱全截面塑性受弯承载力的50%。
2) 格构柱分离式柱脚,受拉肢的锚栓毛截面受拉承载力标准值不宜小于钢柱分肢受拉承载力标准值的50%。
3) 实腹柱铰接柱脚,锚栓毛截面受拉承载力标准值不宜小于钢柱最薄弱截面受拉承载力标准值的50%。
17.3 基本抗震措施¶
Ⅰ一般规定
17.3.1¶
抗震设防的钢结构节点连接应符合现行国家标准《钢结构焊接规范》GB 50661-2011 第5.7节的规定,结构高度大于50m或地震烈度高于7度的多高层钢结构截面板件宽厚比等级不宜采用S5级。
17.3.2¶
构件塑性耗能区应符合下列规定:
1 塑性耗能区板件间的连接应采用完全焊透的对接焊缝;
2 位于塑性耗能区的梁或支撑宜采用整根材料,当热轧型钢超过材料最大长度规格时,可进行等强拼接;
3 位于塑性耗能区的支撑不宜进行现场拼接。
17.3.3¶
在支撑系统之间,直接与支撑系统构件相连的刚接钢梁,当其在受压斜杆屈曲前屈服时,应按框架结构的框架梁设计,非塑性耗能区内力调整系数可取1.0,截面板件宽厚比等级宜满足受弯构件S1级要求。
Ⅱ框架结构
17.3.4¶
框架梁应符合下列规定:
1 结构构件延性等级对应的塑性耗能区(梁端)截面板件宽厚比等级和设防地震性能组合下的最大轴力 $ N_{E2} $ 、按本标准式(17.2.4-1)计算的剪力 $ V_{pb} $ 应符合表17.3.4-1的要求:
| 结构构件延性等级 | V级 | IV级 | III级 | II级 | I级 |
| 截面板件宽厚比最低等级 | S5 | S4 | S3 | S2 | S1 |
| $ N_{E2} $ | — | ≤0.15Af | ≤0.15Afy | ||
| $ V_{pb} $ (未设置纵向加劲肋) | — | ≤0.5hwtfv | ≤0.5hwtfvfy | ||
注:单层或顶层无需满足最大轴力与最大剪力的限值。
2 当梁端塑性耗能区为工字形截面时,尚应符合下列要求之一:
1) 工字形梁上翼缘有楼板且布置间距不大于2倍梁高的加劲肋;
2)工字形梁受弯正则化长细比 $ \lambda_{n,b} $ 限值符合表 17.3.4-2 的要求;
3)上、下翼缘均设置侧向支承。
| 结构构件延性等级 | I级、II级 | III级 | IV级 | V级 |
| 上翼缘有楼板 | 0.25 | 0.40 | 0.55 | 0.80 |
注:受弯正则化长细比 $ \lambda_{n,b} $ 应按本标准式(6.2.7-3)计算。
17.3.5¶
框架柱长细比宜符合表 17.3.5 的要求:
| 结构构件延性等级 | V级 | IV级 | I级、II级、III级 |
| $ N_{p}/(Af_{y})\leq0.15 $ | 180 | 150 | 120 $ \varepsilon_{k} $ |
| $ N_{p}/(Af_{y})>0.15 $ | 125 $ \left[1-N_{p}/(Af_{y})\right]\varepsilon_{k} $ | ||
17.3.6¶
当框架结构的梁柱采用刚性连接时,H形和箱形截面柱的节点域受剪正则化宽厚比 $ \lambda_{n,s} $ 限值应符合表17.3.6的规定。
| 结构构件延性等级 | I级、II级 | III级 | IV级 | V级 |
| λn,s | 0.4 | 0.6 | 0.8 | 1.2 |
注:节点受剪正则化宽厚比 $ \lambda_{n,s} $ ,应按本标准式(12.3.2-1)或式(12.3.2-2)计算。
17.3.7¶
当框架结构塑性耗能区延性等级为Ⅰ级或Ⅱ级时,梁柱刚性节点应符合下列规定:
1 梁翼缘与柱翼缘焊接时,应采用全熔透焊缝。
2 在梁翼缘上下各 600mm 的节点范围内,柱翼缘与柱腹板间或箱形柱壁板间的连接焊缝应采用全熔透焊缝。在梁上、下翼缘标高处设置的柱水平加劲肋或隔板的厚度不应小于梁翼缘厚度。
3 梁腹板的过焊孔应使其端部与梁翼缘和柱翼缘间的全熔透坡口焊缝完全隔开,并宜采用改进型过焊孔,亦可采用常规型过焊孔。
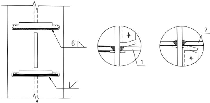
4 梁翼缘和柱翼缘焊接孔下焊接衬板长度不应小于翼缘宽度加 50mm 和翼缘宽度加两倍翼缘厚度;与柱翼缘的焊接构造(图 17.3.7)应符合下列规定:
1)上翼缘的焊接衬板可采用角焊缝,引弧部分应采用绕角焊;
2)下翼缘衬板应采用从上部往下熔透的焊缝与柱翼缘焊接。

1—下翼缘;2—上翼缘
17.3.8¶
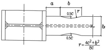
当梁柱刚性节点采用骨形节点(图 17.3.8)时,应符合下列规定:
1 内力分析模型按未削弱截面计算时,无支撑框架结构侧移限值应乘以 0.95;钢梁的挠度限值应乘以 0.90;
2 进行削弱截面的受弯承载力验算时,削弱截面的弯矩可按梁端弯矩的 0.80 倍进行验算;
3 梁的线刚度可按等截面计算的数值乘以 0.90 倍计算;
4 强柱弱梁应满足本标准式(17.2.5-3)、式(17.2.5-4)要求;
5 骨形削弱段应采用自动切割,可按图 17.3.8 设计,尺寸 a、b、c 可按下列公式计算:
$$ a=\begin{pmatrix}0.5\sim0.75\end{pmatrix}b_{\mathrm{f}} \tag{17.3.8-1} $$
$$ b=\left(0.65\sim0.85\right)h_{\mathrm{b}} \tag{17.3.8-2} $$
$$ c=\left(0.15\sim0.25\right)b_{\mathrm{f}} \tag{17.3.8-3} $$

式中: $ b_{f} $ ——框架梁翼缘宽度(mm);
$ h_{b} $ ——框架梁截面高度(mm)。
17.3.9¶
当梁柱节点采用梁端加强的方法来保证塑性铰外移要求时,应符合下列规定:
1 加强段的塑性弯矩的变化宜与梁端形成塑性铰时的弯矩图相接近。
2 采用盖板加强节点时,盖板的计算长度应以离开柱子表面 50mm 处为起点。
3 采用翼缘加宽的方法时,翼缘边的斜角不应大于1:2.5;加宽的起点和柱翼缘间的距离宜为 $ (0.3\sim0.4)h_{\mathrm{b}} $ , $ h_{b} $ 为梁截面高度;翼缘加宽后的宽厚比不应超过 $ 13\varepsilon_{k} $ 。
4 当柱子为箱形截面时,宜增加翼缘厚度。
17.3.10¶
当框架梁上覆混凝土楼板时,其楼板钢筋应可靠锚固。
$$ III 支撑结构及框架 - 支撑结构 \tag{17.3.10-1} $$
17.3.11¶
框架-中心支撑结构的框架部分,即不传递支撑内力的梁柱构件,其抗震构造应根据本标准表 17.1.4-2 确定的延性等级按框架结构采用。
17.3.12¶
支撑长细比、截面板件宽厚比等级应根据其结构构件延性等级符合表 17.3.12 的要求,其中支撑截面板件宽厚比应按本标准表 3.5.2 对应的构件板件宽厚比等级的限值采用。
| 抗侧力构件 | 结构构件延性等级 | 支撑长细比 | 支撑截面板件宽厚比最低等级 | 备注 | ||
| 支撑结构 | 框架-中心支撑结构 | 框架-偏心支撑结构 | ||||
| 交叉中心支撑或对称设置的单斜杆支撑 | V级 | V级 | - | 满足本标准第7.4.6条的规定,当内力计算时不计入压杆作用按只受拉斜杆计算时,满足本标准第7.4.7条的规定 | 满足本标准第7.3.1条的规定 | - |
| IV级 | III级 | - | 65εk<λ≤130 | BS3 | - | |
| III级 | II级 | - | 33εk<λ≤65εk | BS2 | - | |
| 130<λ≤180 | BS2 | - | ||||
| II级 | I级 | - | λ≤33εk | BS1 | - | |
| 人字形或V形中心支撑 | V级 | V级 | - | 满足本标准第7.4.6条的规定 | 满足本标准第7.3.1条的规定 | - |
| IV级 | III级 | - | 65εk<λ≤130 | BS3 | 与支撑相连的梁截面板件宽厚比等级不低于S3级 | |
| III级 | II级 | - | 33εk<λ≤65εk | BS2 | 与支撑相连的梁截面板件宽厚比等级不低于S2级 | |
| 130<λ≤180 | BS2 | 框架承担50%以上总水平地震剪力;与支撑相连的梁截面板件宽厚比等级不低于S1级 | ||||
| II级 | I级 | - | λ≤33εk | BS1 | 与支撑相连的梁截面板件宽厚比等级不低于S1级 | |
| 采用屈曲约束支撑 | - | - | ||||
| 偏心支撑 | - | - | I级 | λ≤120εk | 满足本标准第7.3.1条的规定 | 消能梁段截面板件宽厚比要求应符合现行国家标准《建筑抗震设计规范》GB50011的有关规定 |
注: $ \lambda $ 为支撑的最小长细比。
17.3.13¶
中心支撑结构应符合下列规定:
1 支撑宜成对设置,各层同一水平地震作用方向的不同倾斜方向杆件截面水平投影面积之差不宜大于 10%。
2 交叉支撑结构、成对布置的单斜杆支撑结构的支撑系统,当支撑斜杆的长细比大于130,内力计算时可不计入压杆作用仅按受拉斜杆计算,当结构层数超过二层时,长细比不应大于180。
17.3.14¶
钢支撑连接节点应符合下列规定:
1 支撑和框架采用节点板连接时,支撑端部至节点板最近嵌固点在沿支撑杆件轴线方向的距离,不宜小于节点板的 2 倍;
2 人字形支撑与横梁的连接节点处应设置侧向支承,轴力设计值不得小于梁轴向承载力设计值的 2%。
17.3.15¶
当结构构件延性等级为Ⅰ级时,消能梁段的构造应符合下列规定:
1 当 $ N_{p,l}>0.16Af_{y} $ 时,消能梁段的长度应符合下列规定:
当 $ \rho(A_{\mathrm{w}}/A)<0.3 $ 时:
$$ a<1.6W_{\mathrm{p},l}f_{\mathrm{y}}/V_{l} \tag{17.3.15-1} $$
当 $ \rho(A_{\mathrm{w}}/A)\geq0.3 $ 时:
$$ a<\left[1.15-0.5\rho\big(A_{\mathrm{w}}/A\big)\right]1.6W_{\mathrm{p},l}f_{\mathrm{y}}/V_{l} \tag{17.3.15-2} $$
$$ \rho=N_{\mathrm{p},l}/V_{\mathrm{p},l} \tag{17.3.15-3} $$
式中:a——消能梁段的长度(mm);
$ V_{p,l} $ ——设防地震性能组合的消能梁段剪力(N)。
2 消能梁段的腹板不得贴焊补强板,也不得开孔。
3 消能梁段与支撑连接处应在其腹板两侧配置加劲肋,加劲肋的高度应为梁腹板高度,一侧的加劲肋宽度不应小于 $ \left(b_{\mathrm{f}}/2-t_{\mathrm{w}}\right) $ ,厚度不应小于 $ 0.75t_{w} $ 和10mm的较大值。
4 消能梁段应按下列要求在其腹板上设置中间加劲肋:
1) 当 $ a \leq 1.6W_{p,l}f_{y}/V_{l} $ 时,加劲肋间距不应大于 $ (30t_{w}-h/5) $ ;
2) 当 $ 2.6W_{p,l}f_{y}/V_{l} < a \leq 5W_{p,l}f_{y}/V_{l} $ 时,应在距消能梁端部 $ 1.5b_{f} $ 处配置中间加劲肋,且中间加劲肋间距不应大于 $ (52t_{\mathrm{w}} - h/5) $ ;
3) 当 $ 1.6W_{p,l}f_{y}/V_{l}<a\leq2.6W_{p,l}f_{y}/V_{l} $ 时,中间加劲肋的间距宜在上述二者间采用线性插入法确定;
4) 当 $ a>5W_{p,l}f_{y}/V_{l} $ 时,可不配置中间加劲肋;
5) 中间加劲肋应与消能梁段的腹板等高;当消能梁段截面高度不大于640mm时,可配置单向加劲肋;当消能梁段截面高度大于640mm时,应在两侧配置加劲肋,一侧加劲肋的宽度不应小于 $ \left(b_{\mathrm{f}}/2-t_{\mathrm{w}}\right) $ ,厚度不应小于 $ t_{w} $ 和10mm的较大值。
5 消能梁段与柱连接时,其长度不得大于 $ 1.6W_{p,l}f_{y}/V_{l} $ ,且应满足相关标准的规定。
6 消能梁段两端上、下翼缘应设置侧向支撑,支撑的轴力设计值不得小于消能梁段翼缘轴向承载力设计值的 6%。
Ⅳ柱脚
17.3.16¶
实腹式柱脚采用外包式、埋入式及插入式柱脚的埋入深度应符合现行国家标准《建筑抗震设计规范》GB 50011 或《构筑物抗震设计规范》GB 50191 的有关规定。